Product description
Concrete containers are used to transport concrete mass and other materials of similar consistency by means of cranes. They have a jaw drain mechanism (closing system) that is easy to operate when opening the container drain hole. The appropriate design of the drain mechanism guarantees easy opening of the container with the use of a small amount of effort by the worker. Additionally, the locking system prevents the container from opening automatically during transport of concrete thanks to the use of a gear mechanism. The concrete container with the straight outflow is characterized by a solid structure and high durability. Containers are approved for construction works by the Office of Technical Inspection on the basis of the Declaration of Conformity and the Operation and Maintenance Documentation. Standard containers with the straight outflow are equipped with a 2 m-long drain sleeve with a clamp for fixing it. The drain sleeve is an essential element in construction works, in particular in the construction of columns and pillars.

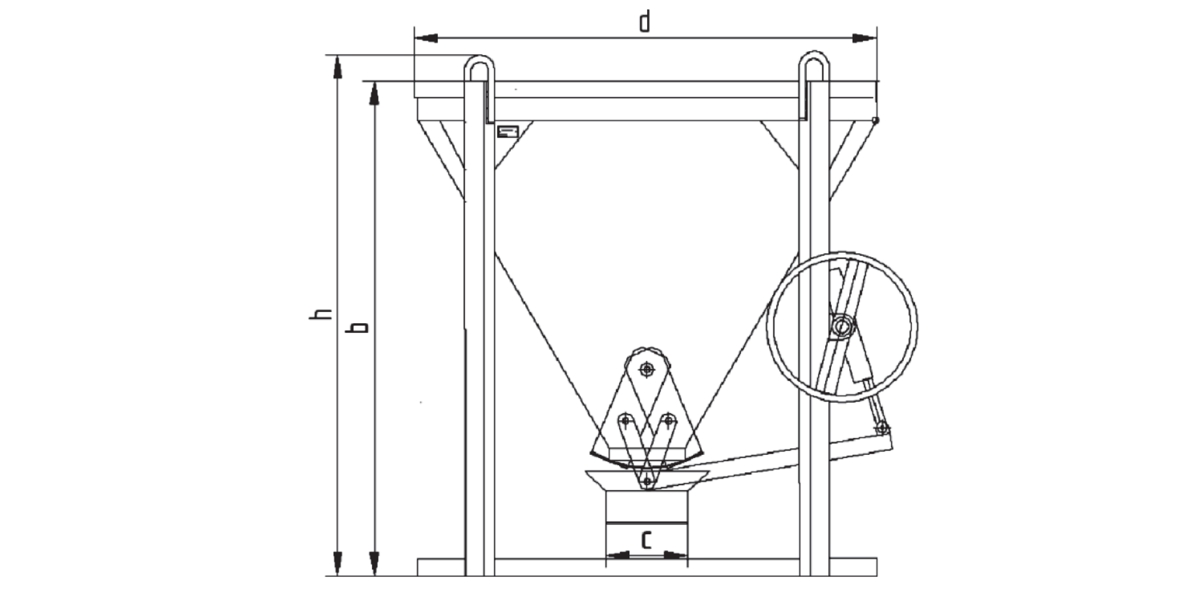
Assortment
| Art. no. | Volume | h | b | d | c | Weight |
| m3 | mm | mm | mm | mm | kg | |
| 10003 | 0,70 | 1630 | 1530 | 1400 | 250 | 300 |
| 10006 | 1,00 | 1750 | 1650 | 1400 | 250 | 320 |
| 10007 | 1,50 | 1900 | 1800 | 1500 | 250 | 360 |
| 10008 | 2,00 | 1820 | 1720 | 1700 | 250 | 440 |