




Властивості
| Категорія | Тип затирання | Шорсткість | Фактор тертя |
| βct | μ | ||
| Нижча | Дуже гладка | 0,0 | 0,5 |
| Нізька | Гладка | 1,4 | 0,6 |
| Середня | Шорстка | 2,0 | 0,7 |
| Вища | Зубчаста | 2,4 | 1,0 |

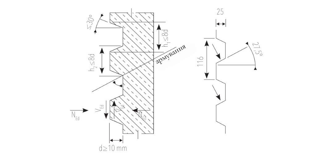
μ - фактор тертя
βct - шорсткість
b - ширина робочої затірки
fck - витрималість бетону
as - поперечний переріз стали
fyd - витрималість сталі
VEd -сила, що діє в затірці
η1 - корекційний коефіцієнт
σNd - нормальна перпендикулярна напруга в затірці
α - кут армування в затірці
fcd - міцність бетону з урахуванням коефіцієнта
безпеки
